1. 역류계전기설치 목적
역류계전기는 정류기 메인 DC 차단기반에 검출장치를 설치하여 DC 역류를 감지함으로써 실리콘 정류기 내부 단락사고를 검출
하는 계전기이다.
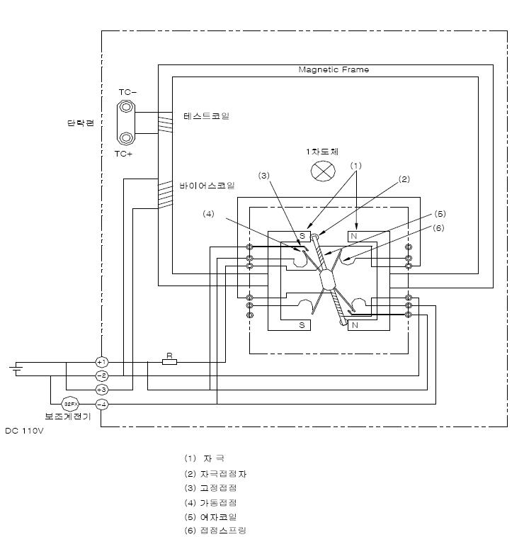
2. 역류계전기 구조
계전기 구조는 역류계전기(주요부)와 보조계전기로 구성되어 있 다. 주요부의 구조는 분리 설치되 있고 보조계전기는 패널에 부 착되어 있다. 주요부는 4극 평형 철편형구조로 되어있고. 1차 도 체는 철심을 관통하고 바이어스코일은 정상전류방향에 바이어스를 공급하기위해 같은 철심에 감겨있다.
역류전류가 가운데 관동된 도체에 흐르면 이 전류와 바이어스전 류가 차동 동작을 일으켜, 즉 역류전류가 바이어스 전류보다 커 지게되어 철심의 자기장 상태가 반전된다. 이로 인해 계전기가
신속하게 동작하게 된다.
3. 역류계전기 동작 원리
이계전기의 자기회로는 자기 후레임과 4개의 자극으로 구성되어 있다. 그리고 그곳에 테스트코일이 감겨있다. 중간 고정점에 의 해 움직일 수 있는 자극접점자가 자극사이 공간에 설치되어 있 다. 여자코일이 이 자극접점자에 감겨져 있으며 자극 접점자에 는 전기적으로 연결된 가동접점이 있다. 자극접점자는 정상시에 는 여자코일에 의해 윗쪽은 N 아래쪽은 S로 자화되어 있다. 정 상시 자극은 도면에 보여지는 것처럼 왼쪽부분은 S 오른쪽 부분 은 N으로 자화되어 있다. 그래서 자극접촉자가 반시계방향으로 움직여서 접점이 열려 있다. 1차전류가 정상방향으로 흐르는 동 안은 자력이 바이어스 자력과 같은 방향으로 동작하게 한다. 따 라서 자극접촉자는 그림과 같은 상태를 유지한다. 또한 보조전 원이 끊어진 경우에도 가동접촉자에 붙어 있는 스프링에 의해 접점이 닫혀지지 않는다.
그런데 전류가 역방향으로 흐를 때 그것이 바이어스 전류 암페 어 턴보다 커져서 자화상태가 역전된다. 즉 N과S가 바뀐다. 그 결과 자극접촉자가 시계방향으로 움직여서 접점이 닫힌다. 접점 스프링의 억제토크가 작기 때문에 동작은 거의 바이어스와 1차 전류의 차동 동작에 의해서 행하여진다. 보조계전기는 동작표시 (PI)와 정상적인 OPEN CLOSE의 한셋트를 가지고 있는 보조계 전기(32FX)가 있다. 동작점검을 위해서 테스트 코일에 적은 전 류를 이용하여 테스트를 한다.

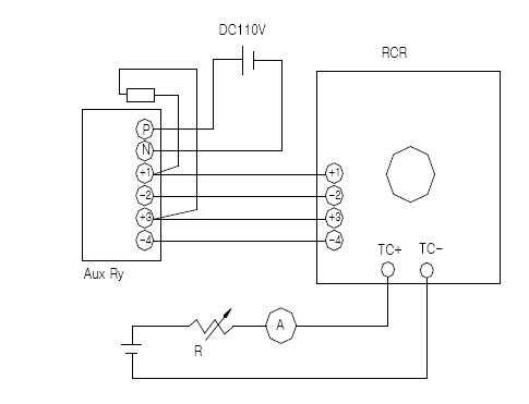
4. 역류계전기 테스트
테스트를 실행하기 위해서 단락편 TC+와 TC-를 제거하고 그림 과 같이 배치한 후 동작전류를 서서히 증가시키면서 측정한다.
측정값이 테스트 데이터의 값과 ±20%이내면 된다.
예를 들면 -1000A의 최소동작전류로 동작하게 되어있는 계전기 는 약 1.0A에 동작한다.
이 시험은 전류계와 가변저항기로 시행 한다.
5. 역류 계전기 테스트 회로
(1) 역류계전기 주요사양
구 성 : 역류계전기 1개, 보조계전기 1개
최소동작전류 : -5000A or -1000A
정 확 도 : ±20%
보조공급전원 ; DC 110V ±20V
소비전력 : 약15W
접점용량 : 1C DC 110V 0.2A
히스테리시스 특성 : ±5%
응답시간 : 200% 95ms 이내 최소동작
600% 40ms 이내 최소동작
4000% 20ms 이내 최소동작
과부하용량 : ±40,000A
주위온도 : -10˚에서 50℃
테스트코일 : 통전비 1/1000
절연저항(500메가사용시) : 1차와 단자,접지 : 50㏁이상
단자와 접지 : 10㏁ 이상
절연내력(정상주파수하에서)1차와 단자접지 : 1분간 AC 5,500V
단자와 접지 : 1분간 AC 2,000V



'전기,철도 기술자료 > 전기이론' 카테고리의 다른 글
| 급전선 고장 선택 장치 시험 (0) | 2025.11.03 |
|---|---|
| 64P 계전기 점검 방법 (0) | 2025.11.03 |
| 과전압 계전기(OVGR 또는 64L) 시험 (0) | 2025.11.03 |
| SGR 선택 지락 계전기 시험 방법 (0) | 2025.11.03 |
| 비율차동계전기 시험 방법 (0) | 2025.11.03 |
