1. 개 요
측정기에는 여러 가지가 있으나 가장 기본적인 것이 전압계, 전류계이다. 본론에 들어가기 전에 이 전압계 전류계의 문자판 기
호와 사용방법에 관하여 간단히 언급하고자 한다.
전압계와 전류계는(기타 전력계와 위상계도 동일함)사용 목적에 따라 대단히 정밀하여 구조상 기계적으로 약한 것과 지시하는
값은 그다지 정확하지 않으나 사용하는데 간편한 것으로 구분할 수 있다. 또한 전압 전류의 파형에 따라 지시 값이 달라지는 것
이 있다. 예를 들면 전류계나 트랜지스터 등의 회로에 흐르는 전류 등은 정확한 계기로도 지시 값이 달라지는 것이 있다.
전압계와 전류계 등의 계기판을 보면 그림1과 같이 문자와 기호를 기입한 문자판이 있다. 이 중에는 제작사 이름과 그 제작사만
의 형식이 기록되어 있으나 그 안에 동작형의 종류라든가 JIS규격 등이 있어 그것을 보면 측정기가 어떠한 종류인가를 알 수
있다.
2. 계급(지시치의 정확도)의 표시
계기는 JIS에서 0.2, 0.5, 1.0, 1.5, 2.5의 5계급으로 나누고 있다. 이 수치는 그것의 오차를 %로 표시하고 있다. 결국 그 계기 의 최대 지시치에 계급의 숫자의 %를 곱한 것이 오차범위이다.
예를 들면 최대눈금150V, 1급의 계기는 ±(150×1%=1.5V)의 오차 를 인정하고 있으므로 만약 150V를 가리키면 150V ± 1.5V
=151.5V~148.5V를 나타내게되어 오차는 1%. 50V를 가리킬 때 는 메타의 지시는 50±1.5V=51.5~48.5V의 범위이면 정상이기 때 문에 3%의 오차까지가 규격의 범위내이다. 마찬가지로 10V를 측정할 때는 11.5~8.5V로 15% 5V라면 6.5~3.5V로 30%의 오차 까지 허용된다. 직류용계전기 등은 낮은 수치까지 눈금은 있으 나 이 같은 이유에서 그다지 낮은 위치의 눈금을 사용하지 않 는다. 될 수 있으면 측정해야할 값에 가까이 계기를 사용해야한 다. 계급에 관해서는 이밖에 계기의 튼튼함에 관해서도 정해지 고 있다. 0.2급~1.0급의 계기는 휴대 기기로 사용하고 정밀한 측정에 사용하고 있으나 구조상 약하고 배전반에 사용하고 있는 계기는 1.5급~2.5급 것으로 정밀도는 그다지 좋지 않으나 구조 상 튼튼하고 전류계에는 다음과 같은 대단히 튼튼하게 만들어지 고 있다. 정격전류의 10배의 전류를 0.5초간씩 9회 흘린 후, 10 배의 전류를 5초간 흘려도 이상이 없도록 되어있다.(열선형, 열전형 등 특수한 것은 제외)
3. 동작원리 표시
![]() |
같은 크기의 계급과 같은 정격의 2개의 계기를 같은 회로에 접 속하여도 각각 다른 값을 나타내는 것이 있다. 또 소전류의 교 류 전류계 중에는 수 천 오옴의 내부저항을 갖은 것이 있다. 전압계에도 거의 전류를 흘리지 않는 것으로부터 0.3A가 흘리는 것 등 여러 가지가 있다. 한 가지 예로 그림 2와 같이 정류(반 파)회로에 전류계를 2개 접속하여 정현파 교류를 가하면 A1과 A2의 전류는 1과 1.57의 비율 즉 A1이 10A일 때 A2는 15.7A를 나타나게 된다. 이것은 A1과 A2의 전류계의 동작원리가 다르기 때문이고 A1쪽은 축전지의 충전량(Ah)을 볼 때 A2쪽은 전선이 나 저항기의 발열이나 휴즈를 결정할 때의 값이 되기 때문에 측 정하고자하는 대상에 따라 계기의 종류를 알지 않으면 안 된다. 표1과 표2에 계기의 동작원리를 표시하는 기호와 그에 관련된 여러 가지 특성을 나타내고 있다.
동작 원리의 기호와 지시값의 특징
| 종류 | 기호 | 동 작원 리 | 사 용회 로 | 교류에 의 한 지 시 | 외부자계의 영 향 | 내부저항 | ||
| 직 류자 계 | 교 번자 계 | 전압계 | 전류계 | |||||
| 가 동 코일형 | ![]() |
영구자석의자계와 전류간의 전자력 | 직류 | 거의 받지 않음 |
거의 받지 않음 |
아주 큼 | 아주 적음 | |
| 정류형 | ![]() |
가동코일형에정류기를 것 | 교류 | 평균치 | 거의 받지 않음 |
거의 받지 않음 |
아주 큼 | |
| 전 력계 형 | ![]() |
전류상호간전자력 | 교‧직류 | 실효치 | 직류 일때 받음 |
교류 일때 받음 |
작 은 것 이 있 다 | 아 주 큰 것 이 있 다 |
| 가동 철편형 | ![]() |
자계내 철편의 전자력 | 교류 (직류형 도있음) |
실효치 | 크다 | 크다 | 작 은 것 이 있 다 | 아 주 큰 것 이 있 다 |
| 유도형 | ![]() |
유도자계와 이자계에의한 유도전류간 작용 | 실효치 | 거의 받지 않음 |
거의 받지 않음 |
작 은 것 이 있 음 | 아 주 큰 것 이 있 음 |
|
| 정전형 | ![]() |
충전된 2극간에 작용하는 인력또는 척력 | 교‧직류 | 실효치 | 없음 | 없음 | 무한대에 가까움 | |
| 가동코일 비율계용 |
![]() |
자계내 2개의코일힘의평형 | 직 류 | 평균치 | 거의 받지 않음 |
거의 받지 않음 |
아주 큼 | 아주 큼 |
| 열전형 | 열전추와 가동코일형계기의조합 | 교‧직류 | 실효치 | 거의 받지 않음 |
거의 받지 않음 |
작 음 | 작 음 | |
각종 파형에서 계기(전압계 또는 전류계)지시
| 파 형 | 지 시 치 | |||
| 실효치 지시형 | 평균치 지시형 | 파고치 지시형 | ||
| 정현파 | ![]() |
1 | 1 | 1.41 |
| 사각파 | ![]() |
1 | 1 | 1 |
| 전파정류 | ![]() |
1 | 0.90 | 1.41 |
| 반파전류 | ![]() |
1 | 0.64 | 2.0 |
4. 계기의 설치 각도
계전기에는 수직으로 되어 세워서 사용하는 것, 수평으로 놓는 것, 어떤 각도로 놓는 것이 있다. 이것도 문자판이 있어서 각각 15°정도까지 지장이 없도록 되어 있다.
5. 외부 영향
계기는 외부의 영향을 받는 것이 있는데 그 중에 가장 크기가 큰 것이 자계영향이다. 직류용 계기는 내부에 강한 영구자석을 가지고 있기 때문에 거의 영향을 받지 않으나 가동 철편형은 교 ‧직류자속에 제법 강한 영향을 받기 때문에 주의가 필요하다. 기후의 영향은 특수한 경우 이외에는 일반적으로 고려하지 않는다.
6. 배율기와 분류기 사용방법
![]() |
| 전압계회로 |
직류용 전압계, 전류계로는 가동코일형이 사용되고 있으나 계기 자체의 구조는 거의 같고 계기자체의 구조는 완전히 동일하며 직렬저항(배율기)을 접속한 것은 전압계이고 병렬저항(분류기)을 접속한 것은 전류계이다. 직류계기는 계기 본체의 소비전력이 극히 작기 때문에 배율기도 분류기도 어느 정도까지는 계기 내 부에 수납할 수 있는 것이 있으나 보통 수백 볼트 이상 수십 암 페어의 경우는 외부에 부착하게 되어 있다.
배율기에는 회로를 개방하면 개방한 단자간에 고전압이 발생하 여 전격을 받는 것도 있으나 보통은 그의 감전만으로 사상이 되 는 것은 없다. 또 접속의 상하간에 측정오차가 발생할 가능성은 거의 없다. (그림) 분류기(CT)는 접속 방법을 잘못하면 측정치 가 크게 다르거나 또는 계기에 높은 전압이 가하여 위험한 경우 가 있다. 분류기는 그 저항값이 아주 적다.
예를 들면 표준형 1,000A, 50㎷의 것은 0.000050Ω=50μΩ의 저항 이다. 이 때문에 부착단자 위치와 계기까지의 리드선의 영향을
크게 받는다. 그림(a)가 올바른 접속으로 주회로용 단자와 계기 용 단자를 분리하여 접촉저항에 의한 오차가 발생되지 않도록 한다. 만약 그림(b)과 같이 접속하면 대단히 큰 오차가 발생한 다. 심한 경우 수배의 지시가 될 때도 있다. 또 리드선의 저항도 정해져있기 때문에 반드시 전용의 것을 사용해야한다. 이외에 분류기를 고압회로에 접속할 때는 기기 전체에 고압이 가해지므 로 주의를 하지 않으면 안 된다.
![]() |
| 분류기 접속도 |
7. 전압계의 직렬사용과 전류계의 병렬사용
![]() |
| 전압계 회로 |
직류의 전압계‧전류계는 각각 2개 이상으로 측정하여 각 계기의 수치를 산술계산으로 더하여 측정할 수 있다. 단 맥류(직류와 교 류가 중첩되어 있는 것 예를 들면 정류기로 정류한 전류 등)의 때는 가동코일형(직류전용계기)만 사용하면 지장이 없으나 가동 코일형과 전류력계형(교직류용계기)을 조합하여 사용하면 안 된다.
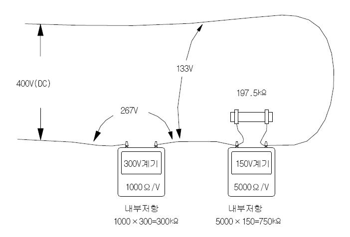
(a) 전압계 그림 같이 2개 또는 3개이상의 계기의 각 전압 의 합이 선간 전압이다. 이때 사용하는 계기의 문자판을 보 고 볼트당 저항 (5000Ω/V,1000Ω/V등)을보고 그 수치가 같 은 계기를 사용하면 각 계기가 같은 진동을 하므로 최대로 각 정격의 합계까지 측정할 수 있다. 같은 1000Ω/V의 계 기로 300V의 것과 400V의 것을 직렬로 하여 400V회로에 접 속하면 정확히 300V와 100V를 지시하게 된다. 그림 같 이 Ω/V가 다른 계기를 사용하면 이 경우에는 300V의 계기 에는 114V가 가해지고 150V쪽은 286V가 가해지게 된다. 이때 적당한 저항을 전압계단자에 병렬로 연결하면 지시치 배 분을 적당하게 가해지도록 할 수 있다. 그림 5의 경우에서
150V계기에 197.5㏀을 병렬로 접속하면 쌍방의 계기의 Ω/V 가 같아지게 된다.
(b) 전류계 : 전류계에 대해서도 병렬로 접속하면 그 합이 회 로의 전류이다. 교류의 경우에는 위상의 관계가 있어서 2개
이상의 계기의 합이 회로의 전압, 전류가 되지 않는다. 특히 전류계의 경우는 그 오차가 크다.
'전기,철도 기술자료 > 전기이론' 카테고리의 다른 글
| OCR(OCGR), UVR 시험 방법 (1) | 2025.11.03 |
|---|---|
| 공냉식 정류기 접지 계전기 동작전압 측정 (0) | 2025.11.03 |
| 계기용변성기 시험 (0) | 2025.10.31 |
| 보호계전기 (1) | 2025.10.31 |
| 계기용변압기 (1) | 2025.10.31 |














